一款无需溢价的交通测速雷达传感器——LDTR21

来源:路达科技

作者:-

发布时间:2025-10-17

高精度测速高灵敏度设计,车辆探测距离大于120米;

角天线设计采用宽角天线设计,波束宽度为±20°×±8°,能有效避免多车道漏测;(3dB波束宽度,实际探测角度大于4车道)

多车道覆盖可区分来向、去向、双向车辆

双接口模式RS485和UART串口

产品特点

K波段射频集成电路设计; 

◆频率范围:24GHz 

◆调制方式:CW探测运动车辆 

支持RS485与TTL串口(波特率9600bps) 

◆测速量程:1KM/H~240KM/H (速度测量误差小于±1KM/H(运动方向与雷达波束方位夹角为零度时)

◆电压:9~24V、电流≤48mA@12V 

◆输出功率(EIRP)20dBm 


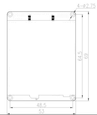
模块尺寸

测速场景安装示意

根据道路车辆来去向安装在道路左或右侧,如下图,高度:1~2m;天线发射面与道路建议夹角小于10°。

经典场景示例

弯道路口预警系统

固定超速抓拍系统

区间测速系统

0
0
收藏

免责声明

  • 1、本文内容版权归属原作者、原发表出处。若版权所有方对本文的引用持有异议,请联系感算商城(service@gansuan.com),我方将及时处理。
  • 2、本文的引用仅供读者交流学习使用,不涉及商业目的。
  • 3、本文内容仅代表作者观点,感算商城不对内容的准确性、可靠性或完整性提供明示或暗示的保证。读者阅读本文后做出的决定或行为,是基于自主意愿和独立判断做出的,请读者明确相关结果。
  • 4、如需转载本方拥有版权的文章,请联系感算商城(service@gansuan.com)注明“转载原因”。未经允许私自转载感算商城将保留追究其法律责任的权利。